Любые конфигурации и исполнение

Мы производители, поэтому ограничены только вашими требованиями и нормативными документами

Конфигурация

Грузоподъемность и размер вагона, материал, конструкция пола и тип крыши, количество осей, тип боковой загрузки и другие параметры

Маркировка

Нанесение на вагон технических характеристика и идентификационных данных клиента

Брендирование

Формирование единичного изделия с логотипом и другими характеристиками компании. После утверждения — окраска других вагонов

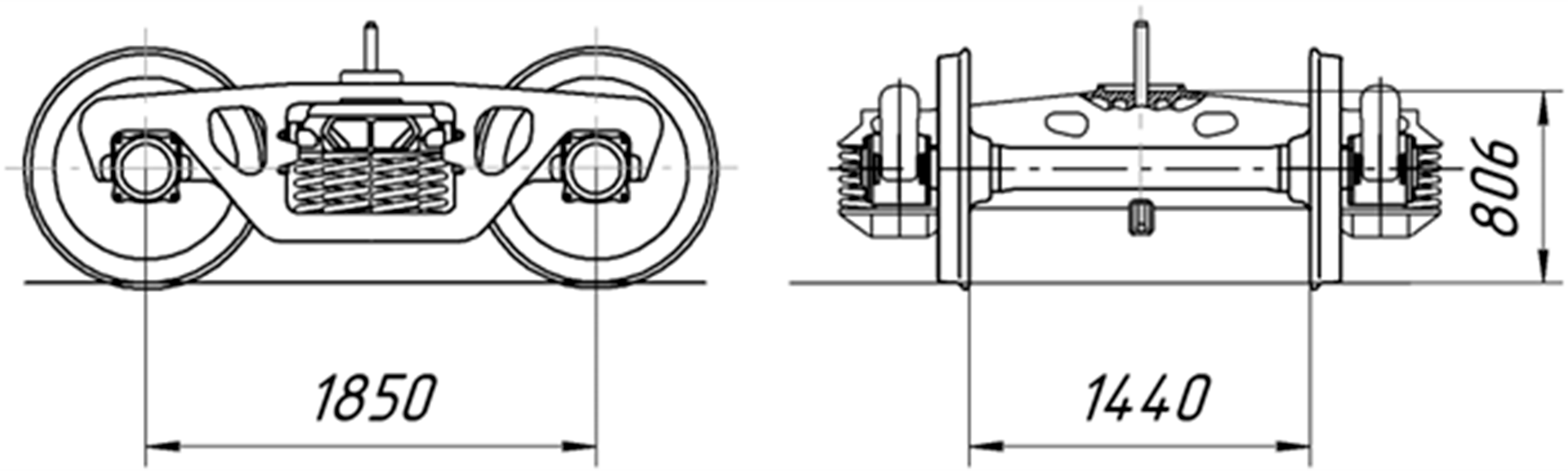
Модель: 18-100

Тележка 2-осная грузовых вагонов

«Под заказ» в стандартной и нестандартной комплектации

Гарантия:
25 лет

Доставка до  клиента

Масса, не более, кг4 900
База, мм1 850
Расстояние от уровня головок рельсов до уровня подпятника в свободном состоянии, мм806
Расстояние между осями рессорных комплектов, мм2 036
Максимальная статическая нагрузка от оси на рельсы, кН (тс)230 (23,5)
Конструкционная скорость, км/ч120
Гибкость рессорного подвешивания, мм/Н (мм/тс)1,13×10^-4 (1,13)
Расстояние между осями скользунов, мм1 524
Рессорное подвешиваниецентральное

Модель: РУ1Ш-950А

Колесная пара с (без) буксовыми узлами

«Под заказ» в стандартной и нестандартной комплектации

Гарантия:
25 лет

Доставка до  клиента

Масса, кг1 392 (1 181)
Диаметр колес по кругу катания, мм957
Тип подшипников качения30-232726Л4М, 30-42726Л4М
Посадка внутренних колец подшипниковгорячая
Крепление подшипниковшайба крепительная и 4 болта М20
Вид заготовки осипоперечно-винтовой прокат
Расстояние между центрами приложения нагрузок, мм2 036
Статическая нагрузка от оси на рельсы, кН (тс)230,0 (23,5)
Код ОКП318381 9031

Расскажите о вашей задаче, мы проконсультируем по срокам, ценам и возможностям изготовления

Предложим различные конфигурации
Расскажем о возможностях изготовления по вашим параметрам
Расскажем о гарантиях и условиях заключения договора
Проконсультируем по постгарантийному обслуживанию, возможностях модернизации и покупки запасных частей
CRM-форма появится здесь